Ford has gone to great lengths over the years to improve Mustang suspension and handling. The S197 Mustang represented major improvements to the Mustang platform in terms of how the car handled right off the showroom floor. However, we all know that there is always room for improvement, since OE manufacturers are tied to all manner of guidelines for building a car that appeals to the widest range of customers possible.
If you’ve been a Mustang fan for very long, you likely know the name Kenny Brown. Brown has spent over 30 years honing Mustang handling, and has over 40 years of experience designing, testing, and working on cars built for the track. Those years of experience and knowledge have made Brown a professor of suspension, especially when it comes to Mustangs, and if you’ve ever had the privilege of talking with him, you also know he has a talent for educating anyone who will listen about how to make a Mustang handle better.
Since not everyone can make a trip to the Kenny Brown Performance shop, or spend a lot of time with him at an event, Brown and his team have come up with a way to help share his knowledge with the masses. Launched just a few weeks ago, Speed Secrets with Kenny Brown is a newsletter that will feature in-depth technical guidance on parts selection and how to set up your Mustang for the track. Sweetening the deal further, the newsletter includes discount coupons for subscribers only towards parts featured in each edition.
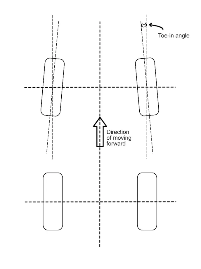
The first edition of Speed Secrets covers setting the toe angle of the front wheels for better track and street cornering performance and stability. Brown discusses what is normally set for street cars, settings he prefers, and why. He also gives toe specifications that the readers can use themselves (if they know how) or give to their alignment professionals and have their car adjusted for hard cornering. Additionally there’s an important section covering bump steer. Brown explains what bump steer is and how to correct it, as well as who needs a bump steer kit.
So if you want your Mustang to handle better, whether it’s a daily driver, weekend track racer, or your track toy, you need to head over to the Kenny Brown Performance web-site and sign up for the Speed Secrets With Kenny Brown newsletter.
You might also like
Dakota Digital’s RTX Dash Puts Modern Gauges In Classic Mustangs
Drop these stealthy gauges right into your factory bezel. The Mustang RTX Instruments track engine data without ruining the vintage vibe.
